昨日晚间,抖音电商发布了2023春节期间无忧服务调整公告。
春节期间(1月20日-1月28日,腊月廿九-正月初七),无忧服务订购线上功能及平台质检、供应链云仓、售后客服三大官方服务调整及安排如下:
· 无忧服务订购承接:春节期间前端正常开放订购(订购流程详见《无忧服务产品操作手册》),ERP系统对接1.19(腊月廿八)前/1.29(正月初八)后进行实施。
· 送仓质检:春节期间仓内不支持补货和质检,如有需要请于1.19(腊月廿八)前完成送仓质检。
· 发货服务:1.20(腊月廿九)-1.24(正月初三)仓内暂停发货,1.25(正月初四)起逐步恢复。已入驻无忧联盟的商家可选择订购春节不打烊产品在春节期间进行正常发货或设置延迟发货.。
· 售后客服:春节期间正常承接用户咨询,费用不变。
平台春节期间发货及服务调整详见公告:2023春节发货及服务调整公告。
2023春节发货及服务调整公告
2023年1月14日00:00:00-2023年2月2日23:59:59期间买家付款的订单,卖家须符合以下发货要求,双方另有约定以双方约定为准:
1、发货时效调整
春节期间,小店平台商家和全球购平台商家可根据自身服务能力选择发货模式:
· 小店平台商家可选择正常发货或延迟发货,参加平台春节活动的商家,其发货时效要求以招商入口规则为准。【延迟发货】工具设置参见《大促延迟发货时效设置使用手册》
· 跨境全球购商家(保税模式)可选择订购春节不打烊产品进行正常发货或预售模式发货或全店商品设置全国区域限售。跨境全球购商家设置商品预售方式详见:进口保税商家预售申请S&OP
(1)正常发货时效
现货发货模式,其发货时效同日常考核标准,详情参见《商家发货行为管理规则》 (全球购平台商家以《【全球购】商家发货行为管理规则》为准)。
(2)延迟发货时效(仅限国内商家现货模式)
在2023年1月14日00:00:00-2023年2月2日23:59:59期间支付的订单,发货时效要求:最晚需在2023年2月4日23:59:59前完成发货(商家在抖店平台内上传真实有效物流单号)。
《大促延迟发货时效设置使用手册》,未使用【延迟发货】工具设置的,按订单原有发货时效考核。对符合要求的商家,平台支持预售发货模式,详情参见《商家发货行为管理规则》、《春节期间部分类目商品预售时长临时调整的公告》
(3)预售模式发货(跨境全球购商家)
对符合要求的商家,平台支持全款及定金预售发货模式,预售活动时间及承诺发货时间, 商家可自行设置,发货时效支持2-15天设置,具体时限以后台相应页面显示为准。详情参见《【全球购】商家发货行为管理规则》。
· 海外集货模式:消费者付款后,商家承诺的时效内可以在订单轨迹上查询到包裹集货入库信息;
· BBC保税模式:消费者付款后,商家承诺的时效内可以在相应的快递公司官网查询到物流揽收信息。
2、揽收时效调整(仅限国内商家)
在2023年1月14日00:00:00-2023年2月4日23:59:59期间发货的订单:
揽收时效由24小时调整为48小时,即在发货后的48小时内该物流单号在相应物流公司官网有第一条物流揽件信息。
3、虚假发货判定标准调整
在2023年1月14日00:00:00-2023年2月4日23:59:59期间发货的订单,虚假发货判定标准调整如下:
· 商家上传的订单物流单号,自相应物流公司官网出现首条揽收信息至到达/离开首个分拨中心的时间间隔由24小时调整为120小时。
· 商家上传的订单物流单号在相应物流公司官网物流轨迹更新时长做以下调整:

注:其他虚假发货情形判定标准不变,详见《商家发货行为管理规则》(全球购平台商家依据《【全球购】商家发货行为管理规则》)。
温馨提示:
· 提前与合作快递核实春节停工时间,调整售卖节奏,在快递停工前把已经产生的且应发出订单全部发出(重点关注预售订单承诺发货时间),避免春节积压,造成客诉。
· 因不可抗力(如自然灾害、疫情、停电、天气因素、会议赛事)等原因导致无法及时发货或更新物流信息的情形,商家可通过抖店后台-保障中心-报备中心线上发起不可抗力因素、消费者地址异常或消费者要求延迟发货等类型报备,提供相关举证,经平台评估后予以通过的,免除判罚或调整新考核时效,操作手册详见《报备中心使用说明》。
4、售后时效调整
商家收到消费者发起的售后申请,须按照要求对消费者发起的申请进行响应。春节期间商家处理时效调整内容如下:
1.商家未点击发货状态下,同日常规则,春节期间不做变更。
2.商家已点击发货状态下,售后服务时效超时时间点介于 2023年1月14日00:00:00-2023年1月29日23:59:59 期间的订单:
a.等待商家确认的超时时长由2天延长至10天。
b.同意退货或者换货协议的售后申请后,消费者寄回商品的超时时长由7天延长至28天。
c.在退货退款或者换货申请过程中,消费者完成退货物流单号上传,等待商家确认收货的超时时长由7天延长至21天。
d.在退货退款或者换货申请过程中,消费者完成退货物流单号上传,商家需在收到退货(物流显示“签收”)后的退款或者寄回操作超时时长由2天延长至21天。
如商家未按照以上发货、揽收、售后时效要求处理订单,经平台确认商家确实存在违规行为的,平台将按照《商家违规行为管理规则》中【4.1 违背服务承诺】对商家予以违规处理。(跨境商家依据《【全球购】违规管理规则》)
5、咨询服务时间调整
(1)商家服务
在线咨询时间不变:8点-24点(跨境为9:00-19:00)
热线咨询时间不变:9点-18点
(2)达人服务
在线咨询时间不变:8点-凌晨2点
热线咨询时间不变:8点-22点
(3)消费者服务
在线咨询时间不变:8点-24点
热线咨询时间不变:8点-24点
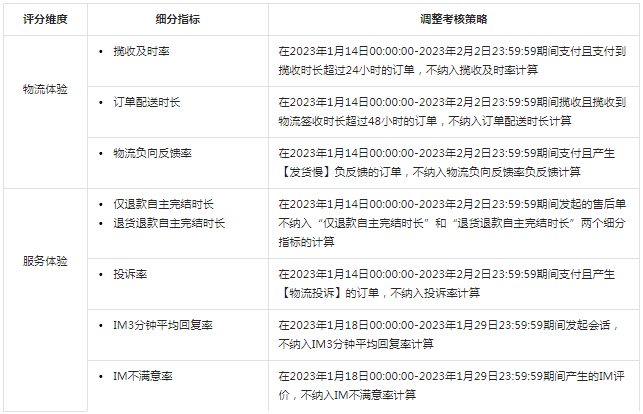
6、体验分策略调整
商家体验分/带货口碑分考核调整如下:

7、精选联盟策略调整
精选联盟指定类目商品准入准出门槛策略调整如下:


